①按电路图连接实物图;
②根据要求设计电路一般步骤是:从电源的一极开始,顺着或逆着电流方向连接实物元件,最后连在电源的另一极。,连接实物图时要注意导线不能交叉,导线的端点要接在各元件的接线柱上。
四种连接类型的作图说明:
(一)看实物画电路图,关键是在看图,图看不明白,就无法作好图,中考有个内部规定,混联作图是不要求的,那么你心里应该明白实物图实际上只有两种电路,一种串联,另一种是并联,串联电路非常容易识别,先找电源正极,用铅笔尖沿电流方向顺序前进直到电源负极为止。明确每个元件的位置,然后作图。顺序是:先画电池组,按元件排列顺序规范作图,横平竖直,转弯处不得有元件若有电压表要准确判断它测的是哪能一段电路的电压,在检查电路无误的情况下,将电压表并在被测电路两端。对并联电路,判断方法如下,从电源正极出发,沿电流方向找到分叉点,并标出中文“分”字,(遇到电压表不理它,当断开没有处理)用两支铅笔从分点开始沿电流方向前进,直至两支笔尖汇合,这个点就是汇合点。并标出中文“合”字。首先要清楚有几条支路,每条支路中有几个元件,分别是什么。特别要注意分点到电源正极之间为干路,分点到电源负极之间也是干路,看一看干路中分别有哪些元件,在都明确的基础上开始作电路图,具体步骤如下:先画电池组,分别画出两段干路,干路中有什么画什么。在分点和合点之间分别画支路,有几条画几条(多数情况下只有两条支路),并准确将每条支路中的元件按顺序画规范,作图要求横平竖直,铅笔作图检查无误后,将电压表画到被测电路的两端。
(二)看电路图连元件作图方法:先看图识电路:混联不让考,只有串,并联两种,串联容易识别重点是并联。若是并联电路,在电路较长上找出分点和合点并标出。并明确每个元件所处位置。(首先弄清楚干路中有无开并和电流表)连实物图,先连好电池组,找出电源正极,从正极出发,连干路元件,找到分点后,分支路连线,千万不能乱画,顺序作图。直到合点,然后再画另一条支路[注意导线不得交叉,导线必须画到接线柱上(开关,电流表,电压表等)接电流表,电压表的要注意正负接线柱]遇到滑动变阻器,必须一上,一下作图,检查电路无误后,最后将电压表接在被测电路两端。
(三)设计电路方法如下:首先读题、审题、明电路,(混联不要求)一般只有两种电路,串联和并联,串联比较容易,关键在并联要注意干路中的开关和电流表管全部电路,支路中的电流表和开关只管本支路的用电器,明确后分支路作图,最后电压表并在被测用电器两端。完毕检查电路,电路作图必须用铅笔,横平竖直,转弯处不得画元件,作图应规范。
(四)识别错误电路一般错误发生有下列几种情况:
1、是否产生电源短路,也就是电流不经过用电器直接回到电源负极;
2、是否产生局部短接,被局部短路的用电器不能工作;
3、是否电压表、电流表和正负接线柱错接了,或者量程选的不合适(过大或过小了);
4、滑动变阻器错接了(全上或全下了)。
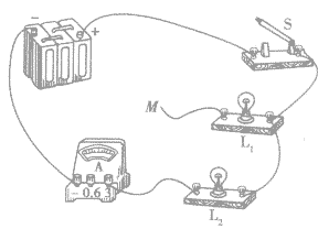
并联电路中电流表的连接问题:
如图,要保证L1和L2并联,只要线头M接在从灯 L2的左接线柱到电流负极的任一接线柱上都可以。但当M接在灯泡L1的左接线柱上或电流表的右接线柱上时,电流表被留在干路中;当M接在电源负极或电流表的左接线柱上时,电流表被留在了L2的支路上。所以两种接法电流表所处的位置不同,所测的电流也不同。
例如:图甲是小亮同学测量并联电路中的总电流时连接的电路。
(1)请你在a、b导线中撤掉一根多余的导线,使电路符合实验要求。你选择撤掉的是_____导线。
(2)撤掉多余的导线后,闭合开关,电流表的读数如图乙所示,其读数为_____A。
解析从图示可以看出导线6是多余的,去掉b 后,两灯泡并联,电流表测干路的电流,从电流表的量程和指针偏转可以看出,此时的示数为0.34A。
答案(1)b(2)0.34
本文来自:逍遥右脑记忆 http://www.jiyifa.net/chuzhong/272691.html
相关阅读:初中物理知识点:电阻单位换算



